产品
数据
资源
版本对比
预约演示
免费注册
年销13亿元!江西大生医药3类仿制药「尼麦角林片」申报上市
2023-10-12
·
研发
·
CPHI制药在线
一致性评价
上市批准
10月12日,CDE官网显示,
江西大生医药
和
华益泰康药业
联合开发的3类仿制药
尼麦角林片
申报上市,预测适应症为脑血管相关的疾病。这是第7家申报上市的国产尼麦角林片,此前,
昆山龙灯瑞迪制药
的尼麦角林片通过一致性评价,为国内首家过评。
Preview
来源: CPHI制药在线
(资料来源:CDE官网)
脑血管经典药物
尼麦角林(Nicergoline)为半合成麦角碱衍生物,有α受体阻断作用和扩血管作用,对许多脑血管疾病都有很好的治疗效果。可加强脑细胞能量的新陈代谢,增加氧和葡萄糖的利用,促进神经递质多巴胺的转换而增强神经传导,加强脑部蛋白质生物合成,改善脑功能。
尼麦角林原研由
辉瑞制药
生产,临床上主要用于治疗以下疾病:(1)
急性或慢性脑血管疾病
或脑代谢不良,如
脑动脉硬化
、脑血栓形成、
脑梗死
、脑一过性供血不足;(2)
急性或慢性周围血管病
,如
脑血栓闭塞性脉管炎
、末梢循环不畅;(3)脑部功能不全综合征,表现
头痛
、
耳鸣
、
眩晕
、疲倦、视力障碍、
感觉迟钝
、记忆里下降、注意力不集中、
抑郁
和不安。
2021年销售额超13亿元
目前,国内获批上市的尼麦角林制剂包括尼麦角林片、注射用尼麦角林、尼麦角林胶囊、尼麦角林注射液。
2023年4月,昆山龙灯瑞迪制药的尼麦角林片通过一致性评价,成为国内首家过评的企业。
Preview
来源: CPHI制药在线
根据米内网数据,尼麦角林2021年在中国公立医疗机构终端销售额超过13亿元,同比增长28%。2022年上半年的销售额接近7亿元,同比增长9%。
Preview
来源: CPHI制药在线
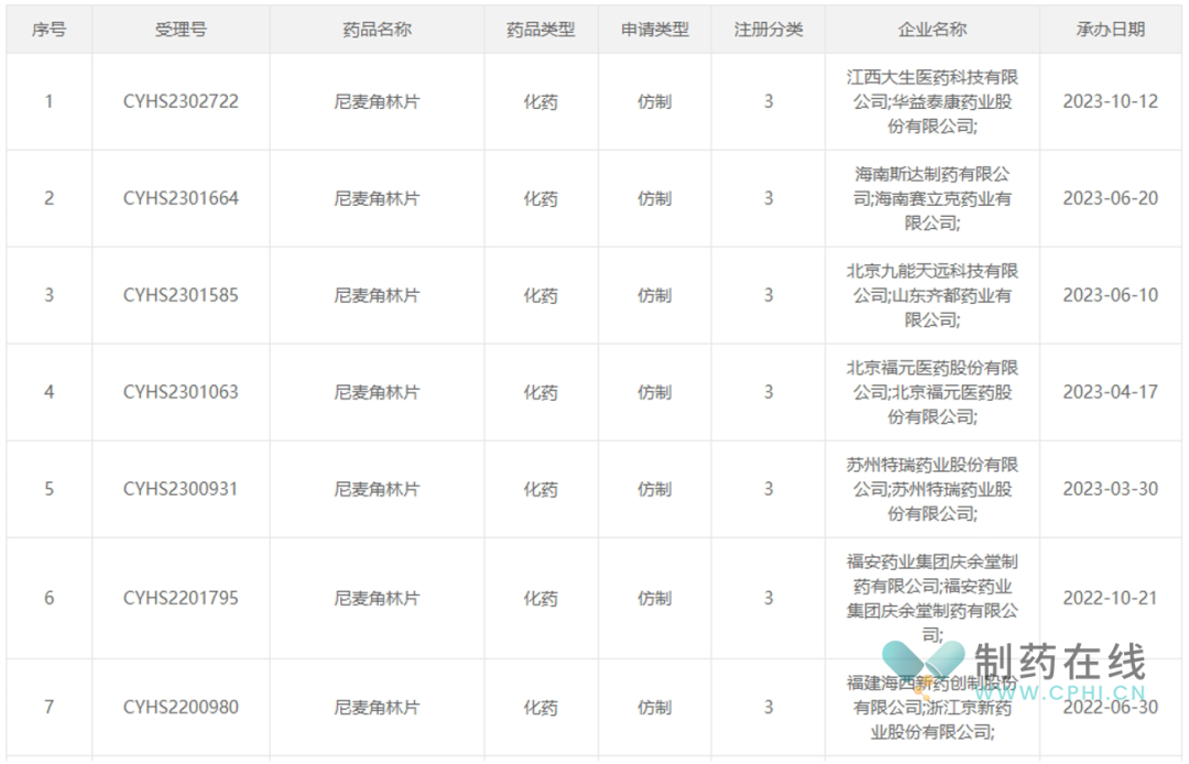
共有7家申报3类仿制药
CDE官网显示,截至目前,共有7家药企以新注册分类(3类仿制药)申报尼麦角林片的上市,分别是
福建海西新药
/
浙江京新药业
、
福安药业
、
苏州特瑞药业
、
北京福元医药
、
北京九能天远科技
/
山东齐都药业
、
海南斯达制药
/
海南赛立克药业
、江西大生医药/华益泰康药业,均未获批。
Preview
来源: CPHI制药在线
未来,到底哪家将拿下尼麦角林首仿,我们拭目以待。
内容来源于网络,如有侵权,请联系删除。
机构
苏州特瑞药业股份有限公司
华益泰康药业股份有限公司
福安药业(集团)股份有限公司
[+10]
适应症
外周血管疾病
眩晕
耳鸣
[+7]
靶点
-
药物
尼麦角林
生物医药百科问答
全新生物医药AI Agent 覆盖科研全链路,让突破性发现快人一步
热门报告
2025 ESMO解读报告
智慧芽生物医药
2025年赛诺菲交易收购策略分析
智慧芽生物医药
GLP1R 小分子激动剂专利 fast follow 策略
智慧芽生物医药
立即开始免费试用!
智慧芽新药情报库是智慧芽专为生命科学人士构建的基于AI的创新药情报平台,助您全方位提升您的研发与决策效率。
开始免费试用
立即开始数据试用!
智慧芽新药库数据也通过智慧芽数据服务平台,以API或者数据包形式对外开放,助您更加充分利用智慧芽新药情报信息。
试用数据服务